Máy cắt tôn
Bên cạnh việc lốc và chấn tôn thì cắt tôn là việc mà bất cứ nhà thi công nào cũng có nhu cầu. Máy cắt tôn chuyên dùng trong việc cắt các tấm tôn, sắt thép có một cách dễ dàng và đường cắt không bị lệch. Máy rất được ưa chuộng để sử dụng trong các nhà máy thi công sắt thép từ quy mô nhỏ đến lớn. Hãy cùng DBK Việt Nam tìm hiểu về loại máy mạnh mẽ này nhé!
3 Máy cắt tôn
Máy cắt tôn là gì?

Ví dụ về máy cắt tôn
Có nhiều loại máy cắt tôn như: máy cắt tôn bằng tay, bằng điện, đạp chân, mini,... Vậy, dòng máy nào là sự lựa chọn phù hợp cho nhu cầu ứng dụng của bạn? Đừng lo lắng, chúng tôi đã tổng hợp những điểm nổi bật nhất của từng loại và liệt kê dưới đây, cùng xem qua nhé!
Máy cắt tôn bằng tay
Là dòng máy cắt tôn có cấu tạo đơn giản nhất và được sử dụng khá phổ biến tại những nơi có nhu cầu cắt tấm kim loại không yêu cầu độ chính xác quá cao. Dưới đây là một số đặc điểm của dòng sản phẩm này.
- Máy cắt tôn bằng tay có cấu tạo đơn giản nhất với chỉ duy nhất phần khung máy, phần lưỡi dao và tay gạt.
- Chính bởi thiết kế này mà máy trông rất gọn nhẹ, dễ di chuyển những không kém phần chắc chắn.
- Giá thành của máy tương đối hợp lý, do đó phù hợp để đầu tư cho nhiều cơ sở kinh doanh không có nhiều điều kiện kinh tế.
- Dễ sử dụng và chỉ cần một người vận hành là đủ. Tuy nhiên, việc sử dụng tay gạt để cắt khiến người sử dụng có thể tốn sức một chút.

Máy cắt tôn bằng tay
Máy cắt tôn đạp chân
Máy cắt tôn đạp chân là dòng được sử dụng rất rộng rãi tại thị trường Việt Nam, đặc biệt tại các cơ sở sản xuất cần cắt những tấm sắt thép có độ dày lớn. Hãy cùng chúng tôi tìm hiểu những tính năng vượt trội của dòng máy này nhé!
- Tiết kiệm sức lao động hơn dòng máy vận hành bằng tay. Không những vậy, lực chân luôn mạnh hơn lực tay và mở rộng giới hạn cắt của công cụ.
- Kết cấu máy vững chắc, bàn đạp chân dễ thao tác đi kèm với hệ thống lò xo giúp việc tác dụng lực lên máy trở nên đơn giản.
- Đa dạng về mẫu mã, tương thích với nhiều ứng dụng có độ dày và độ rộng tấm kim loại khác nhau.
- Thích hợp trong những ứng dụng cần độ chính xác và tính liên tục.

Máy cắt tôn đạp chân
Máy cắt tôn thủy lực (máy cắt tôn bằng điện)
Nếu bạn đang cần một loại máy hoạt động hiệu quả trong những nhà máy lớn với mật độ sản phẩm dày đặc, hãy thử xem xét máy cắt tôn thủy lực hay máy cắt tôn bằng điện.
- Khả năng làm việc của máy vượt trội hơn 2 "người đồng nghiệp" khi có thể cắt các tấm tôn với tốc độ nhanh chóng nhờ vào nguồn lực là bơm điện thủy lực.
- Không những vậy, máy còn có khả năng cắt chính xác nhờ vào những ghim cố định tấm kim loại.
- Nhờ tốc độ vượt trội và không tốn sức nên máy cắt tôn thủy lực rất phù hợp để cắt một lượng lớn sản phẩm trong thời gian ngắn.
- Độ dày tấm sắt thép có thể cắt được cũng cao hơn so với những dòng khác.
- Thiết kế chắc chắn và giá thành không quá chênh lệch so với những dòng kể trên khiến máy cắt tôn thủy lực là món hàng rất đáng để đầu tư.

Máy cắt tôn bằng điện
Máy cắt tôn mini
Nhu cầu sử dụng những dòng máy cỡ nhỏ phù hợp cho không gian làm việc cũng được nhiều nhà sản xuất đáp ứng cho khách hàng - máy cắt tôn mini là 1 ví dụ.
- Điểm đầu tiên mà chắc chắn ai cũng dễ dàng nhận thấy chính là kích thước của máy. Máy có kích thước vô cùng gọn gàng nhưng hiệu quả không hề kém cạnh những dòng khác.
- Thích hợp để cắt các tấm sắt thép có độ rộng không quá lớn.
- Máy có thể dễ dàng kiểm soát bởi kỹ thuật viên vận hành do thiết kế nhỏ gọn.
- Để tối ưu hóa công dụng của máy, một số máy mini thường tích hợp cả 2 tính năng chấn và cắt.

Máy cắt tôn mini
Nguyên lí hoạt động của máy cắt tôn
Trước khi tìm mua và sử dụng bất cứ loại công cụ nào, viêc nắm rõ cách thức nó hoạt động là yếu tố vô cùng quan trọng. Do đó, hãy cùng chúng tôi - DBK tìm hiểu cách sử dụng máy này nhé!
Các bước hoạt động của máy cắt tôn
- Khi tấm kim loại được đưa vào máy cắt tôn, nó sẽ được giữ bằng các ghim sao cho không bị dịch chuyển dưới áp suất cao (máy cắt tôn thủy lực).
- Tiếp đến, người sử dụng tiến hành vận hành bằng cách đạp chân, bằng tay hoặc bằng điện.
- Lực sẽ được tác động vào lưỡi dao và cắt được phần mong muốn.
- Sau khi cắt, người sử dụng có thể tiến hành lấy tấm kim loại ra trước khi bắt đầu một chu kì cắt mới.

Hình vẽ thể hiện cách hoạt động của máy cắt tôn
Lực của máy cắt tôn được tính như thế nào?
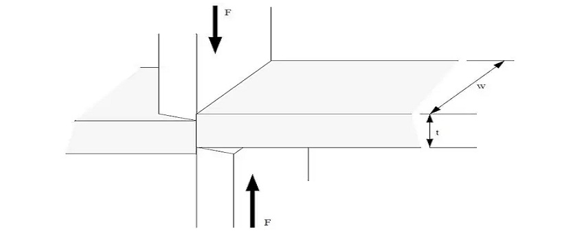
Về cơ bản, lực cắt của máy có thể được tính bởi công thức cơ học đơn giản là: F = 0.7twUTS với:
- F: lực cắt
- t: độ dày của tấm kim loại
- w: độ rộng của tấm kim loại
- UTS: độ bền cắt của vật liệu
Tuy nhiên, việc ma sát có thể làm tăng lực cắt một cách đáng kể. Ngoài ra, còn một lực thứ 2 nằm ở hướng ngược lại. Do đó, lực có thể tính chỉ ở mức tương đối chứ không thể chính xác 100%.

Hình vẽ diễn tả cách máy cắt tôn tác dụng lực lên tấm kim loại
Ứng dụng của máy cắt tôn
Khi đã tìm đến bài viết này, chúng tôi tin rằng các bạn đã biết về ứng dụng của máy cắt tôn. Máy sử dụng để cắt các tấm kim loại có độ dày khác nhau một cách chính xác. Những sản phẩm này ứng dụng vào rất nhiều ngành nghề, đặc biệt là xây dựng và sản xuất. Dưới đây là hình ảnh một số tấm kim loại đã được cắt bằng máy cắt tôn.

Những nơi sản xuất những tấm sắt thép không thể thiếu máy cắt tôn

Đây là thành quả của một máy cắt tôn chất lượng
Lựa chọn máy cắt tôn sao cho hợp lí?
Lựa chọn bất cứ một công cụ nào luôn là vấn đề gây nhức nhối của người mua hàng. Nếu các bạn vẫn chưa thể chọn cho mình một máy cắt tôn sau một loạt nội dung ở trên, chúng tôi sẽ giúp bạn tóm gọn lại. Khi lựa chọn máy cắt tôn, cần lưu ý những điều sau:
- Tốc độ: Hãy xem xét bạn sẽ sử dụng máy vào ứng dụng nào, ứng dụng đó có yêu cầu tốc độ cao hay không. Nếu có thì tốt nhất bạn nên chọn dòng máy cắt tôn chạy điện để đảm bảo hiệu quả cao nhất.
- Kích thước tấm kim loại: Đây là điểm rất quan trọng trong việc chọn lựa. Kích thước tấm tôn phù hợp với máy sẽ giúp chất lượng sản phẩm được tốt hơn, ít sai sót về mặt kỹ thuật.
- Không gian làm việc: Không gian làm việc của bạn có rộng rãi hay không? Có sẵn nguồn điện hay không? Bạn có cần đặt thiết bị lên bàn làm việc hay không? Trả lời những câu hỏi này sẽ giúp bạn chọn ra loại máy phù hợp.
- Giá thành: Đương nhiên rồi! Giá thành là thứ mà ai cũng quan tâm và tùy vào nguồn kinh tế có sẵn cũng như nhu cầu mà chọn cho mình loại máy phù hợp, bạn nhé!
- Nhà phân phối: Tìm cho mình một nhà phân phối uy tín để yên tâm trong quá trình sử dụng sản phẩm.

Máy cắt tôn được sử dụng rất nhiều trong công nghiệp
Ở đâu bán máy cắt tôn giá rẻ, chất lượng?
Nếu bạn chưa biết tìm một người bạn đồng hành trong việc mua các sản phẩm như máy cắt tôn thì DBK Việt Nam có thể giúp bạn. Chúng tôi là nhà phân phối uy tín các sản phẩm máy cắt tôn uy tín với mức giá tốt nhất thị trường. Khi đến với chúng tôi, các bạn sẽ nhận được:
- Tư vấn miễn phí, tận tình từ các kỹ thuật viên giàu kinh nghiệm.
- 100% chính hãng, nhập khẩu trực tiếp từ nhà sản xuất.
- Bảo hành đúng quy định từ hãng.
- Giao hàng miễn phí tại TP HCM và Hà Nội.

Bên cạnh các sản phẩm máy cắt tôn thì DBK Việt Nam còn cung cấp những sản phẩm thiết bị chuyên dụng khác như máy chấn tôn, máy lốc tôn. Nếu có nhu cầu, đừng ngần ngại liên hệ với chung tôi qua hotline 0932 540 460 hoặc email: info@dbk.vn.


