Máy ép thủy lực 60 tấn
Máy ép thủy lực 60 tấn là một thiết bị công nghiệp mạnh mẽ và hiệu quả được sử dụng trong quá trình chế tạo và sản xuất. Trong bài viết này, chúng ta sẽ cùng tìm hiểu về máy ép thủy lực 60 tấn, cách hoạt động và ứng dụng của nó trong các lĩnh vực khác nhau. Bài viết sẽ giúp bạn hiểu rõ hơn về tính năng, đặc điểm và lợi ích của máy ép thủy lực 60 tấn, từ đó giúp bạn chọn lựa và sử dụng máy một cách hiệu quả nhất.
Tổng quan về máy ép thủy lực 60 tấn
Máy ép thủy lực 60 tấn là thiết bị công nghiệp tạo lực nén mạnh lên các vật liệu trong quá trình sản xuất và chế tạo. Sử dụng nguyên lý thủy lực, máy áp lực mạnh lên diện tích nhỏ để biến đổi hoặc định hình vật liệu. Với lực ép lên đến 60 tấn, máy sử dụng xilanh thủy lực và trạm nguồn thủy lực để chuyển đổi năng lượng thành lực cơ học.

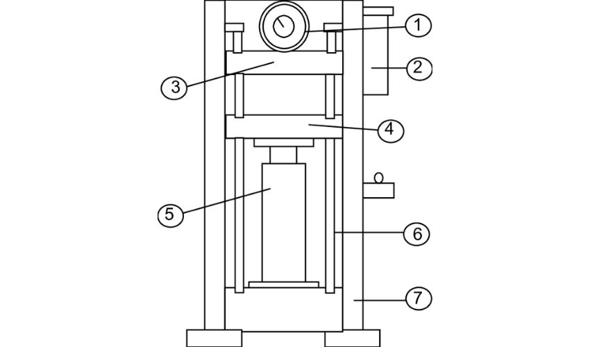
Tìm hiểu về cấu tạo của máy ép thủy lực 60 tấn
Máy ép thủy lực 60 tấn là một thiết bị công nghiệp được sử dụng để áp dụng lực nén mạnh mẽ trong quá trình sản xuất và chế tạo. Sau đây là cấu tạo của máy ép thủy lực 60 tấn:
- Thân máy: Máy ép thủy lực 60 tấn được thiết kế bằng tổ hợp thép kết cấu chắc chắn để đảm bảo độ bền và độ cứng cho máy khi hoạt động. Khung máy có thể có kiểu dáng khác nhau như khung kiểu chữ H, khung kín hay khung máy 4 trụ.
- Trạm nguồn thủy lực: Đây là thiết bị cung cấp năng lượng cho máy ép thủy lực. Thông thường, máy ép thủy lực 60 tấn sẽ được lắp trạm nguồn mini để giảm chi phí. Tuy nhiên, trong trường hợp máy hoạt động liên tục nhiều giờ hoặc cần ép tốc độ cao, sẽ cần sử dụng bộ nguồn có công suất cao hơn.
- Xi lanh thủy lực: Đây là cơ cấu chấp hành của máy ép thủy lực, có lực ép tối đa 60 tấn. Xi lanh được lắp vào bên trong khung máy và có thể di chuyển lên xuống để ép vật liệu. Xi lanh thủy lực được điều khiển bởi bộ điều khiển thủy lực, được tích hợp trong trạm nguồn thủy lực.

Máy ép thủy lực 60 tấn có ưu điểm gì?
Máy ép thủy lực 60 tấn có nhiều ưu điểm vượt trội so với các loại máy ép khác, bao gồm:
- Có khả năng tạo ra lực ép lên đến 60 tấn, giúp ép các vật liệu có độ cứng và độ dày khác nhau một cách dễ dàng và hiệu quả.
- Máy ép thủy lực 60 tấn hoạt động dựa trên nguyên lý thủy lực, cho phép tạo ra lực ép chính xác và đồng đều trên toàn bộ vật liệu được ép.
- Có thể được sử dụng để ép các vật liệu có kích thước và hình dạng khác nhau, từ các chi tiết nhỏ cho đến các tấm lớn.
- Sử dụng nguồn năng lượng thủy lực, giúp tiết kiệm điện năng và chi phí vận hành.
- Thường được thiết kế với khung kín và các tính năng an toàn, đảm bảo an toàn cho người sử dụng trong quá trình hoạt động.

Một số ứng dụng của máy ép thủy lực 60 tấn
Máy ép thủy lực 60 tấn được sử dụng trong nhiều lĩnh vực công nghiệp, chẳng hạn như:
- Đúc khuôn: Sử dụng để định hình và ép mạnh các khuôn đúc sản xuất các chi tiết kim loại hoặc nhựa.
- Cán tấm kim loại: Áp dụng lực ép để làm phẳng và gia công các tấm kim loại thành phẩm.
- Cắt và dập: Sử dụng trong quá trình cắt và dập kim loại để tạo ra các bộ phận hoặc sản phẩm cần thiết.
- Ép đùn: Sản xuất các vật liệu dạng hạt hoặc bán thành phẩm thông qua quá trình ép đùn với lực ép cao.
- Sản xuất gỗ: Dùng để ép gỗ và các vật liệu tự nhiên khác để tạo ra các sản phẩm gỗ hoặc ván ép.

Một số loại máy ép thủy lực 60 tấn
Máy ép thủy lực 60 tấn là một loại máy ép được phân loại dựa trên cơ chế hoạt động và thiết kế. Sau đây là một số loại máy ép thủy lực 60 tấn phổ biến:
Máy ép thủy lực 60 tấn chữ H
Máy ép thủy lực 60 tấn chữ H là một loại máy ép thủy lực có khung được thiết kế theo dạng chữ H. Khung máy có dạng chữ H giúp tăng độ cứng và độ ổn định của máy, đồng thời giảm thiểu dao động và rung động trong quá trình hoạt động.

Máy ép thủy lực 60 tấn khung kín
Máy ép thủy lực 60 tấn khung kín là một loại máy ép thủy lực được thiết kế với khung kín, bao gồm các tấm thép đóng kín quanh khung máy bên ngoài. Khung kín giúp bảo vệ người sử dụng khỏi những tác động từ bên ngoài và giảm thiểu các tai nạn lao động trong quá trình hoạt động.

Máy ép thủy lực 60 tấn 4 trụ
Máy ép thủy lực 60 tấn 4 trụ là một loại máy ép thủy lực được thiết kế với 4 trụ để giữ cho khung máy ổn định và đảm bảo tính chính xác trong quá trình ép vật liệu. Loại máy này có khả năng tạo ra lực ép lên đến 60 tấn, giúp ép các vật liệu có độ cứng và độ dày khác nhau một cách dễ dàng và hiệu quả.

Kết luận
Để mua máy ép thủy lực 60 tấn chất lượng, nên tìm đến DBK Việt Nam, một đơn vị uy tín và chuyên nghiệp trong lĩnh vực này. DBK Việt Nam có kinh nghiệm và cam kết cung cấp sản phẩm chất lượng và dịch vụ hậu mãi tốt. Liên hệ qua hotline 0932 540 460 cho chúng tôi ngay ngay hôm nay để được tư vấn và hỗ trợ tốt nhất.
Ngày tạo: 2023-07-28 10:08:00 | Người tạo: Phát Review